Brass Foot Valve
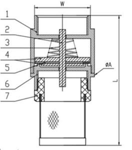
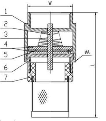
The Blaze BT 1209 Brass Foot Valve is a non-return valve installed at the inlet of suction pipes to prevent backflow and retain prime in pumps. Designed for use in water, oil, and steam systems, it ensures efficient and reliable operation by allowing fluid flow in only one direction while filtering out debris. Manufactured from high-quality brass and featuring ISO 7 threaded connections, this valve performs under PN 10 pressure and temperatures up to 110°C, making it ideal for residential, commercial, and light industrial applications.
| DN | INCH | A | L | W | wt(KG) |
|---|---|---|---|---|---|
| 15 | ½" | 33±1 | 77.5±1 | 25±1 | 0.14 |
| 20 | ¾" | 42±1 | 93.5±1 | 31±1 | 0.24 |
| 25 | 1" | 46±1 | 102±1.5 | 38±1 | 0.313 |
| 32 | 1¼" | 59±1 | 112±1.5 | 47±1 | 0.49 |
| 40 | 1½" | 66±1 | 124±1.5 | 52.5±1 | 0.66 |
| 50 | 2" | 80±1 | 157±2 | 67±1 | 1.04 |
| 65 | 2½" | 95±1 | 170±2 | 82±1 | 1.974 |
| 80 | 3" | 110±1 | 186±2 | 95±1 | 2.586 |
| 100 | 4" | 145±1 | 208±3 | 121±1 | 4.07 |
- Pump suction lines in water supply systems
- Irrigation and agricultural pumping setups
- Industrial process and oil handling systems
- Boiler feed and steam supply networks
- Tank and reservoir outlet protection
- HVAC and plumbing systems requiring backflow prevention
Description
- Corrosion-resistant brass body for long-term durability
- Integrated strainer screen to prevent debris from entering the pump
- Non-return design retains pump prime and prevents backflow
- Suitable for water, oil, and steam applications
- Threaded connection conforms to ISO 7 (BSPT) standards
- Pressure rated to PN 10
- Operates in temperatures up to 110°C
- Compact, easy to install and maintain
Additional information
| Working Pressure | PN10 |
|---|---|
| Medium | Water, Oil & Steam |
| Working temperature | <110°C |
| Body Material | Brass |
| Model Number | BT 1209 |
| Product Type | Brass Foot Valve |
| Pipe Thread | ISO 7 (BSPT – British |
| Screen Material | Brass or Stainless Steel (depending on configuration) |
| Installation Orientation | Vertical, at |







